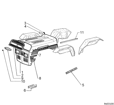
POS MATRIC. DESCRIZIONE
1 ________ COFANO MOTORE .........................NR
2 ________ MASCHERINA COFANO ...............NR
3 00002471 SUPPORTO ELASTICO LAT.
4 00004375 DECALCOMANIA RICH.RICAMBI
5 00009472 DECALCOMANIA GOLDONI 921
5 00009473 DECALCOMANIA GOLDONI 928
5 00009474 DECALCOMANIA GOLDONI 930
5 00009475 DECALCOMANIA GOLDONI 926
5 00011013 DECALCOMANIA GOLDONI 932
5 00011230 DECALCOMANIA GOLDONI 933
5 00011653 DECALCOMANIA GOLDONI 919
6 00030664 DECALCOMANIA HIDR.STEER.
7 00033344 DECALCOMANIA GOLDONI
8 00015663 DECALCOMANIA d. 932
8 00015664 DECALCOMANIA s. 932
8 00030431 DECALCOMANIA 919
8 00033786 DECALCOMANIA 926
8 00033787 DECALCOMANIA 933
9 00033343 TARGHETTA GOLDONI
10 06240004 ANELLO QUICKLOCK 4
11 00028721 DECALCOMANIA VERDE 25X600
 
 
 
NR
VEDERE TAVOLA 03 140
VOIR PLAN 03 140
SEE TABLE N° 03 140
VER LAMINA 03 140
SIEHE TAFEL 03 140

900


919 921 926 928 930 932 933

COFANO / CAPOT / HOOD / CAPOT / HAUBE (7c245)


GR TAV

03 100

10.2002

POS MATRIC. DESCRIZIONE
1 06150087 VITE T.C.CAVA C.M4X20
2 06180085 ROND.P D 5,5X15X1,6
3 06160065 DADO AUTOB.M 4X 6
4 00014944 MASCHERINA
5 00014455 COFANO MOTORE ........................ NR
5 00014844 COFANO MOTORE (1)
6 00014848 DECALCOMANIA 933 d. (1)
6 00014849 DECALCOMANIA 933 s. (1)
6 00014859 DECALCOMANIA 921 d. (1)
6 00014861 DECALCOMANIA 921 s. (1)
7 00038259 TARGHETTA MARCHIO (1)
8 06240170 ANELLO QUICKLOCK 4,5 (1)
 
 
 
(1) JOHN DEERE
 
 
NR
FINO ALLA MACCHINA N.A285909 RICHIEDERE ANCHE
I PARTICOLARI N.00014944
JUSQU'A LA MACHINE N.A285909 DEMANDER AUSSI
LES PIECES N. 00014944
UP TO MACHINE N.A285909 REQUEST
ALSO PARTS N. 00014944
HASTA LA MAQUINA N.A285909 REQUERIR
TAMBIEN LAS PIEZAS N. 00014944
BIS ZUR MASCHINE NR.A285909 AUCH DIE
TEILEN NR. 00014944 ANFORDERN

900


919 921 926 928 930 932 933

COFANO / CAPOT / HOOD / CAPOT / HAUBE (7c245)


GR TAV

03 140

10.2002